基于最小二乘法多项式拟合三角测量模型研究

    Laser triangulation measurement model based on least square polynomial fitting method

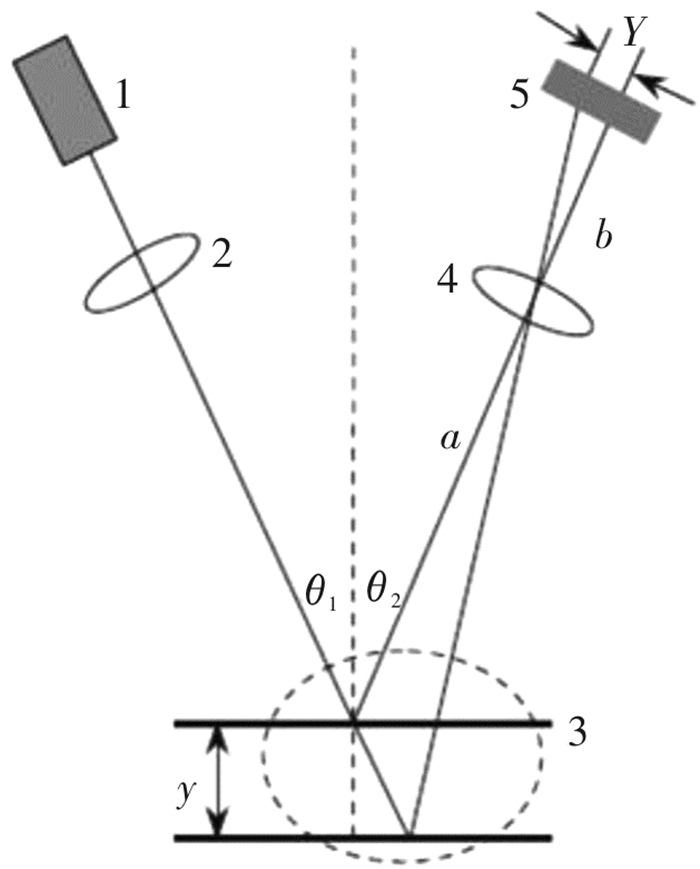
    • 摘要: 激光三角法具有非接触测量、测量范围大、相对测量精度高、结构简单、环境适应性强等多种优点, 得到了广泛应用。但是三角测量的理论公式具有非线性特征, 而且光学结构参数(abθ)等在现实工程中具有不可测性。研究了三角测量中数学模型的建立方法, 选用多项式展开方法建立数学模型。通过应用最小二乘法拟合多项式的方法求解模型系数, 提出了根据最大相对拟合残差要求、结合相关系数用于控制拟合多项式阶数的评价方法, 并通过实际光学系统验证了该方法的可行性, 达到了0.01%的相对误差。最小二乘法拟合多项式的方法对于激光三角位移传感器的标定和系统误差消除具有实际的指导意义。

       

      Abstract: The laser triangulation method has been widely applied due to its advantages in non-contact measurement, large measurement range, high accuracy in measurement, simple structure, high adaptability, etc. However, the theoretical formula of laser triangulation is nonlinear and the parameters (a, b, θ) of optic structure in practical engineering is immeasurable. Therefore, we investigated the construction approach of the mathematical model in triangulation, and adopted the polynomial expansion approach to build the model. Under the application of least square fitting polynomial method of the solution to the model coefficient, we proposed a evaluation method according to the requirements of the maximum relative fitting residual combined with the relative coefficients for controlling the fitting polynomial order. The feasibility of the method was verified by the practical optical system, with the relative error of 0.01%. The method of least square fitting polynomial has practical guiding significance for the calibration of laser triangular displacement sensor and the elimination of systematic error.

       

    /

    返回文章
    返回